圣邦微电子推出适用于12V汽车应用的四通道高边驱动器SGM42214xQ

圣邦微电子推出SGM42214xQ,一款适用于12V汽车应用,带开漏数字输出(Version A)或模拟电流检测(Version B)的四通道高边驱动器。该器件可应用于多通道LED及灯泡驱动、高边继电器、电磁阀驱动、子模块多通道高边驱动、PLC数字输出驱动等多种场景。

SGM42214xQ是一款通过AEC-Q100 Grade 1认证的高边驱动器,专为各类汽车应用设计。器件可在-40℃至+125℃的严苛温度范围内稳定工作,完全满足汽车电子对高可靠性的要求。

在电气特性方面,SGM42214xQ支持4.5V至36V的宽电源电压范围,每通道典型导通电阻为150mΩ,关断态静态电流低至0.5μA。器件A版本集成了开漏数字状态输出,可通过通道对应的状态反馈引脚(nSTx)实时反馈通道的故障状态;B版本内置了330倍的电流检测增益,可通过电流检测输出引脚(CS)实时监测负载电流状态。当检测到过流、过温或负载开路等异常情况时,电流检测引脚会立即输出故障信号。

该驱动器通常用于子模块多通道高侧开关和多路继电器、电磁阀控制,负载的另一端连接至地(GND)。内置的智能保护功能包括:可编程的限流保护配置,支持闩锁或自动重启模式的热关断保护。产品经过严格的三温(-40℃、+25℃、+125℃)测试,路测项目主要包括阻性负载持续带载能力、容性负载快速启动能力、感性负载关断负压钳位以及退磁耗散能量EAS等项目;诊断保护方面,完成了负载开路、失电失地、低压短路、PWM重复开关短路、热插拔短路等测试项。此外,SGM42214xQ符合AEC-Q100-012要求,已通过低温环境下长脉冲100万次短路可靠性实验。

SGM42214xQ采用符合环保理念的TSSOP-28(Exposed Pad)绿色封装,其四通道架构可提供单通道2.5A或4通道每通道1.5A的连续电流驱动能力。器件还集成了完善的保护机制,包括负载开路检测、短路至地保护、负电压钳位等,并特别针对汽车电子环境设计了系统级保护功能,如电源异常处理(欠压关断/过压钳位)、接地丢失保护以及电池断电保护。器件兼容3V/5V逻辑电平输入,可灵活适配各类汽车电子控制系统,是满足严苛汽车应用要求的理想解决方案。

1.png

图1 SGM42214xQ典型应用电路

2.png

3.png

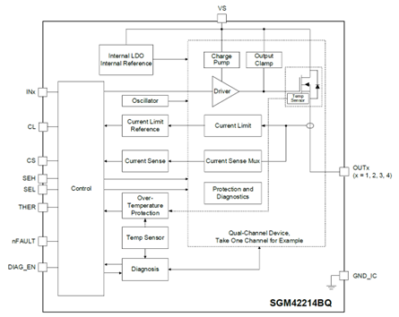
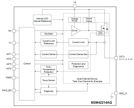
图2 SGM42214xQ功能框图

圣邦微电子汽车级驱动产品系列

圣邦微电子提供完整的高边与低边驱动器产品组合,以满足汽车电子系统多样化的负载驱动需求。

表1 圣邦微电子已推出高低边驱动产品一览

4.png

关于圣邦微电子

圣邦微电子(北京)股份有限公司(股票代码300661)作为高性能、高品质综合模拟集成电路供应商,产品覆盖信号链、电源管理、传感器及存储器等领域。公司拥有38大类近7,000款可销售型号,为工业与能源、汽车、网络与计算和消费电子等领域提供各类模拟及混合信号创新解决方案。

来源:圣邦微电子